メインコンテンツまでスキップ

7.2 电磁感应现象

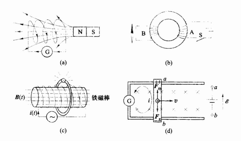
许多实验都能显示电磁感应现象,概括起来可以分成三种:

其一,磁铁与闭合导体回路之间存在着相对运动,如图 7-2(a)所示;其二,闭合导体回路周围磁场的变化,如图 7-2(b,c)所示;其三,置于静磁场中的闭合导体回路所围面积变化,如图 7-2(d)所示。以上实验都能使闭合的导体回路中产生电流,称这种现象为电磁感应现象,称这种电流为感应电流。

图 7-2 电磁感应现象

认真分析以上实验,可以看出一个共同点,即当穿过导体回路所包围面积的磁通量 Ø 发生变化时,导体回路就会出现感应电流,并且,感应电流的大小与磁通量随时间变化的速率有关,而感应电流的方向亦与磁通量的变化有关。